Регулирующим элементом схемы (рис. 1) является электронный коммутатор — тиристор VS1 типа Т122-20, на управляющий электрод которого поступают импульсы открывающего напряжения, сдвинутые по фазе относительно анодного. От момента открывания тиристора (величины фазового сдвига) зависит яркость свечения лампы.
Фазосдвигающая цепь состоит из R6, R7 и С2. Как только напряжение на конденсаторе С2 возрастает до порога срабатывания однопереходного транзистора VT1, он открывается и конденсатор разряжается через резисторы R1 и R2. Яркость освещения изменяется переменным резистором R6.
В схеме применены резисторы R1...R5, R7, R8 типа МЛТ, R6 — СПЗ-4а, конденсаторы С1, С2 — К73-17 на 250 В. Диоды VD1...VD4 подойдут любые высоковольтные, с допустимым током 5...10 A. VD5 и VD6 можно заменить одним стабилитроном, например типа Д816А. Тиристор VS1 устанавливают на радиатор.
Отмеченные на схеме «*» элементы могут потребовать подбора при настройке. Установив нулевое сопротивление на потенциометре R6, резистором R7 настраивают максимум напряжения на лампе.
Показанный на схеме пунктиром светодиод можно не устанавливать, но его наличие позволяет знать, что схема включена, а лампа не светится из-за того, что регулятором яркость свечения уменьшена до нуля.
Вторая схема (рис. 2) позволяет не только регулировать напряжение на лампе, но и обеспечивает плавное нарастание яркости свечения до значения, установленного резистором R7. Это значительно продлевает срок службы лампы за счет устранения перегрузки в момент включения. Ведь кратковременный бросок тока возникает из-за того, что нить накала в холодном состоянии имеет на порядок меньше сопротивление, чем нагретая.
Настройку схемы регулировки яркости выполняют аналогично описанной выше. Коллектор VT3 временно закорачивают на общий провод — транзистор VT2 будет в насыщении. После настройки регулятора яркости, при отключенном диоде VD5, подбором номинала резистора R10 добиваются, чтобы при положении регулятора яркости — «максимум» лампа чуть светилась. Теперь можно подключить диод VD5 и проверить работу устройства.
При включении схемы выключателем S1, если регулятор R7 установлен на максимальную яркость, свечение лампы будет плавно возрастать в течение 1...2 с.
Аналогичную схему можно выполнить на симисторном коммутаторе (рис. 3). Это позволяет уменьшить габариты устройства, так как в этом случае не нужны мощные выпрямительные диоды.
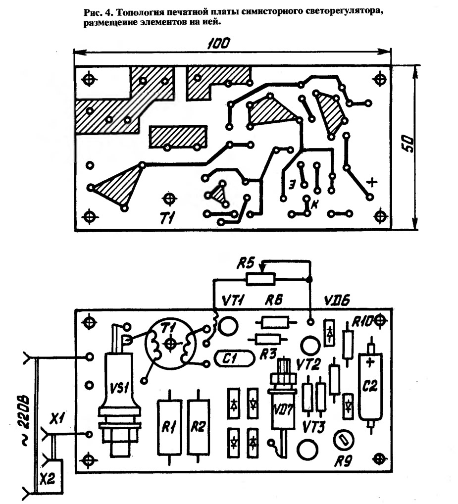
Импульсный трансформатор Т1 наматывают проводом ПЭЛШО-0,12 на ферритовом кольце М4000НМ типоразмера К16Х10Х4 мм. Он содержит в обмотке 1—80 витков, 2—60 витков. Перед намоткой острые грани сердечника закругляют надфилем. После намотки пропитывают катушки лаком и тщательно высушивают. Затем необходимо убедиться в отсутствии замыкания между обмотками, а также обмоткой и ферритом каркаса.
Электролитический конденсатор С2 необходимо использовать с минимально допустимым током утечки, например типа К52-1. Подстроенный резистор R9 типа СПЗ-19а.
Вариант топологии печатной платы для схемы с семистором приведен на рис. 4 в масштабе 1:1.
Применяемые в схемах тиристоры и симистор позволяют управлять и более мощной нагрузкой (до 2000 Вт), но в этом случае их необходимо установить на радиатор.
На рис. 5 показано расположение выводов используемых в схемах транзисторов.
Журнал «САМ» №5, 1997 год





