Таймер сделан в виде подставки (рис. 2). Он включается при установке на него заварочного чайника или чашки с чаем и имеет два временных интервала — 4 и 7 мин, устанавливаемых переключателем S2. Прерывистый звуковой сигнал подается пьезоизлучателем любого типа — ЗП-1, ЗП-3, ЗП-18 или ЗП-22.
Время срабатывания таймера зависит от емкости конденсатора С4 и сопротивления резисторов R4...R7. Настройку удобнее производить подбором резисторов. Частота звука зависит от номиналов R9 и С6, а прерывистость сигнала задается R8 и С5.
Устройство питается по безтрансформаторной схеме от сети через переключатель S1, который срабатывает под действием веса чайника, установленного на крышку прибора. При включении таймера зажигается светодиод VD2 (любого типа).
В схеме использованы конденсаторы С1 — типа К73-17В на 400 В; С2...С4 — типа К50-29 или К53-4А на 16 В; С5, С6 — любые малогабаритные.
Резисторы годятся любого типа с рассеиваемой мощностью не меньшей, чем указана на схеме. Транзистор VT1 подойдет типа КТ3102А, Б, КТ312 и др., стабилитрон — любой с напряжением стабилизации 9...13 В. В качестве переключателя S1 использована кнопка от разобранного тумблера типа МТ-1. S2 — любой малогабаритный выключатель. Сетевой предохранитель F1 можно выполнить в виде перемычки из медного проводника ∅0,04...0,08 мм.
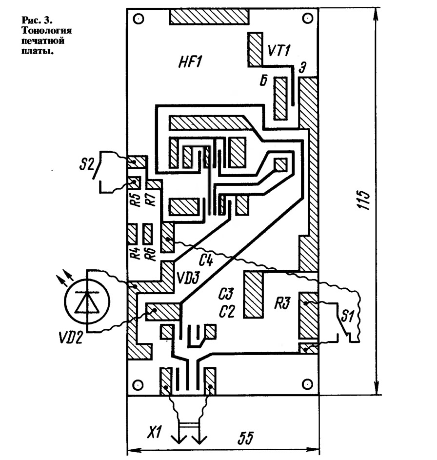
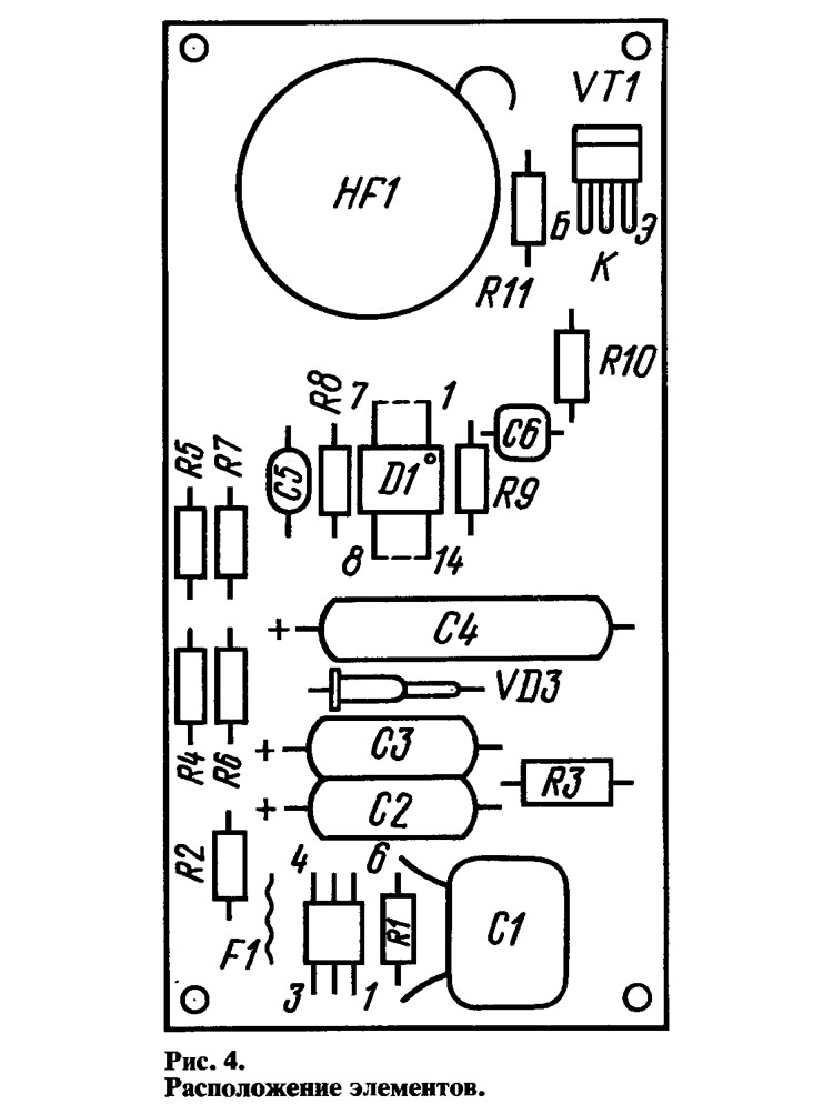
Топология печатной платы и расположение на ней элементов приведены на рис. 3, 4. Ножки элементов крепятся к контактным площадкам пайкой внакладку. Если для D1 используется микросхема типа 561ЛА7, контактные площадки в месте ее установки при изготовлении печатной платы надо раздвинуть.
Настройку таймера начинают с интервала 7 мин при разомкнутом переключателе S2 подбором резистора R7. Интервал 4 мин настраивают при разомкнутом переключателе S2 резистором R5.
Общие габариты устройства — не более 125x100x20 мм. Верхняя крышка должна быть сделана из термостойкого диэлектрика (толстого стеклотекстолита или термостойкой пластмассы). Ее надо закрепить на петле так, чтобы при установке чайника срабатывала кнопка S1.
Таймер может быть полезен на кухне и для других целей, когда нужно соблюдать точные временные интервалы, например, при выпечке вафель, варке яиц и т. д. Подбором сопротивлений R4—R7 можно устанавливать интервалы времени срабатывания сигнала в довольно широких пределах.
Журнал «САМ» №6, 1997 год




