Как сделать, чтобы ни вы, ни «спаренный сосед» не бегали друг к другу. Это очень неудобно, если вы живете на разных этажах.
Решить эту проблему вам поможет простое устройство — сигнализатор, который я назвал «Освободите линию».
Вы делаете два экземпляра его — одно устанавливаете у себя, другое — у «спаренного соседа». После чего вам нужно только нажать кнопку, и гудок в телефонной трубке дает сигнал о том, что надо освободить линию. Тоже может сделать и сосед. Заранее договорившись, частотой и длительностью подачи сигналов можно друг другу сказать довольно много. Например, короткие, частые сигналы — «Мне нужно срочно позвонить»; длинные сигналы — «Я жду звонка» и так далее.
В процессе эксплуатации обнаружился еще один плюс. У телефонов через блокиратор иногда после поднятия трубки приходится долго ждать гудка, хотя спаренный аппарат не занят. Как говорят, линия «зависает», иногда на долгое время. Так вот, даже короткое нажатие кнопки сигнализатора сразу же подключает линию к вашему телефонному аппарату.
Сигнализатор может собрать и подключить любой начинающий радиолюбитель. Устройство питается от телефонной линии только в момент подачи сигнала. При этом нет никакой, превышающей норму, нагрузки на телефонную линию.
Принципиальная схема сигнализатора изображена на рис. 1. На элементах микросхемы DD1 сделан тональный генератор, частота которого задается цепочкой R3, С1. После замыкания кнопки SB1 через резистор R1, диодный мост VD1—VD4, диод VD6 с телефонной линии поступает напряжение питания на микросхему DD1. На ее выводе 4 появляются импульсы отрицательной полярности, которые через открытый диодный мост VD1—VD4, резистор R1 и замкнутые контакты SB1 проходят в телефонную линию. В поднятой трубке спаренного телефона слышится постоянный тональный сигнал. При размыкании кнопки SB1 сигнал прекращается.
Стабилитрон VD5 ограничивает напряжение с телефонной линии до 12 вольт. Конденсатор С2 стабилизирует напряжение питания микросхемы DD1.
Собранное из исправных деталей, устройство начинает работать сразу и настройки не требует.
Диоды VD1—VD4 можно заменить диодной сборкой или другими, рассчитанными на обратное напряжение не менее 100 вольт. Стабилитрон VD5 — любой на напряжение стабилизации 10—12 вольт. Микросхема К561ЛЕ5 без переделки печатной платы заменяется на К561ЛА7. Кнопка SB1, работающая на замыкание без фиксаций, — любой конструкции.
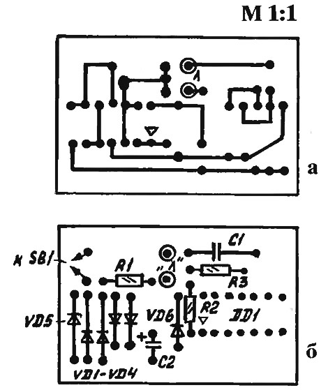
Печатная плата сигнализатора изображена на рис. 2, а (сторона печатных проводников) и рис. 2, б (сторона установки деталей). Проводники, идущие от сигнализатора (см. рис. 1) и обозначенные словами «к линии», подключаются до блокиратора, т. е. к его входным клеммам, обозначенным на его корпусе буквой «Л» (линия).
Аналогично подключают к телефонной линии второй сигнализатор у «спаренного соседа».
Журнал «САМ» №5, 1995 год


